Comments and Suggestions
   
Last updated: November 26, 1999


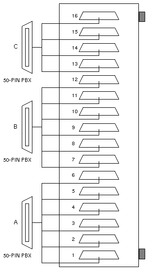
Serial Asynchronous Connectors

Option 974

370-1575

Notes

  1. Use Bracket 370-1582-01 to mount Option 964 in a 19-inch Rack.
  2. Sun discontinued the NTS hardware and software in May 1997.

Reference:

Hardware Installation Guide, 801-3990-11.Internet Link


© 1987-2000, Sun Microsystems Inc.