Comments and Suggestions
   
Last updated: November 26, 1999


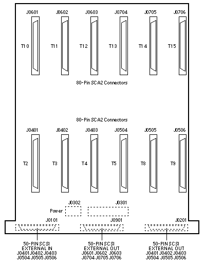
12-Slot SCSI Disk Backplane

SPARCstorage MultiPack

501-2899
Fast/Wide SCSI




12-Slot SCSI Disk Backplane

Netra i 150 / Netra nfs 150 / E150

501-3081



© 1987-2000, Sun Microsystems Inc.