Comments and Suggestions
 
Last updated: November 26, 1999


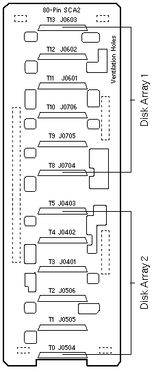
12-Slot SCSI Disk Backplane

StorEdge A1000 / StorEdge D1000

501-4440

Front View
    Rear View

StorEdge D1000 Controller Address Settings

SWITCH DIP SETTING DESCRIPTION
SW1 1 Up
Down
Array 1 drive addresses 8-13 (default)
Array 1 drive addresses 0-5
SW1 2 Up
Down
Array 2 drive addresses 8-13
Array 2 drive addresses 0-5 (default)


© 1987-2000, Sun Microsystems Inc.