Comments and Suggestions
   
Last updated: November 26, 1999


StorEdge A1000/D1000 Rack Mount Kit

9653

CODE PART # DESCRIPTION
-
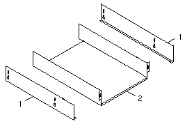
1
2
NS
595-3906
340-4470
340-4469
240-1953
Option X9653A
Side Mounting Bracket
Tray
#10-32 x 1/2" Screw (x16)



© 1987-2000, Sun Microsystems Inc.