| 6060 | 6061 | 6062 |
|---|---|---|
| 35-70GB DLT7000 68-68 Pin Cable Light Grey |
35-70GB DLT7000 50-68 Pin Cable Light Grey |
35-70GB DLT7000 68-68 Pin Cable Medium Grey |
| TAPDLT-021A |
|---|
| 35-70GB DLT7000 w/o Cable Light Grey |
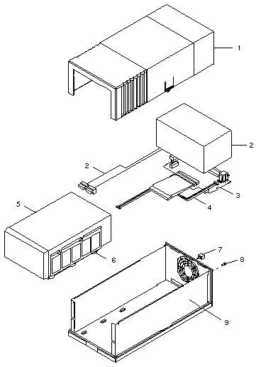
| CODE | PART # | DESCRIPTION |
|---|---|---|
| - - 1 1 2 3 4 |
599-2127 599-2165 540-3043 540-3418 300-1324 501-4357 530-2372 |
35-70GB DLT7000 FlexiPack, Light Grey 35-70GB DLT7000 FlexiPack, Medium Grey Full-Height Tape Drive Cover, Light Grey Full-Height Tape Drive Cover, Medium Grey 48 Watt Power Supply, Type A120 Full-Height 16-Bit SCSI I/O Board Address Select Cable |
| 5 - 6 - - |
540-3046 240-1141 340-3645 370-2847 370-3330 |
DLT7000 Tape Drive Assembly, Light Grey 6-32 x 1/4" Screw Mounting Bracket 35-70GB DLT7000 Tape Drive, Light Grey 35-70GB DLT7000 Tape Drive, Light Grey |
| 5 - 6 - - |
540-3414 240-1141 340-3645 370-2329 370-3331 |
DLT7000 Tape Drive Assembly, Medium Grey 6-32 x 1/4" Screw Mounting Bracket 35-70GB DLT7000 Tape Drive, Medium Grey 35-70GB DLT7000 Tape Drive, Medium Grey |
| 7 8 9 9 |
540-1982 240-2180 540-3045 540-3416 |
Lockbox #4-40M/#2-56F Jackscrew Base Assembly, Light Grey Base Assembly, Medium Grey |
| NS | 240-1530 | M3 x 6 mm Screw |
| NS | 330-1937 | I/O Board Insulation |
| NS | 330-2325 | Top Cover Foam |
| NS | 330-2325 | Side Rail Foam |
| NS | 340-4360 | Removable Storage Tray Mounting Bracket |
| NS | 370-2188 | Data Cartridge |
| NS | 370-2189 | Cleaning Cartridge |
| NS | 530-1884 | External SCSI Cable, HD68 to HD68, 80 cm |
| NS | 530-2115 | External SCSI Cable, HD68 to HD50, 1.2M |
| NS | 530-2183 | LED Cable |
| 802-7739 |
SPARCstorage FlexiPack Service Label |