| 811 | 816 | 831 | 836 | 841 | 846 |
|---|---|---|---|---|---|
| 5GB 8 mm w/o Tape Tray |
5GB 8 mm 1 Tape Tray |
10GB 8mm w/o Tape Tray |
10GB 8 mm 1 Tape Tray |
14GB 8 mm w/o Tape Tray |
14GB 8 mm 1 Tape Tray |
| CODE | PART # | DESCRIPTION |
|---|---|---|
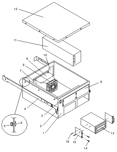
| 1 | 340-2566 | Chassis Enclosure |
| 2 | 340-2861 | Tray Retaining Bracket (obsolete) |
| 2 | 340-2862 | Tray Retaining Bracket |
| 3 | 150-1806 | SCSI Address Select Switch |
| 4 | 370-1385 | -01 Slide Rail Set, Inner 651.2 mm, Outer 742.7 mm |
| 4 | 370-1385 | -03 Slide Rail Set, Inner 717.3 mm, Outer 742.7 mm |
| 5 | None | Cross-Drilled Screw (use 240-1732-01) |
| 6 | None | Screw Retaining Clip |
| 7 | 340-2564 | Fan Enclosure |
| 8 | 370-1214 | DC Fan, 105 CFM |
| 9 | 340-2641 | Filler Panel (obsolete) |
| 9 | 340-2835 | Full-Height Filler Panel |
| 9 | 340-2859 | Half-Height Filler Panel |
| 9 | 340-3369 | Half-Height Filler Panel |
| 10 | 340-2601 | Connector Panel |
| 11 | 300-1096 | 269 Watt Power Supply |
| 11 | 300-1312 | 269 Watt Nordic Power Supply (Available 12/95) |
| 12 | 340-2565 | Top Cover |
| 13 | 370-1415 | 5.0GB 8 mm Tape Drive, Full-Height, Black Bezel |
| 13 | 370-1809 | 10GB 8 mm Tape Drive, Half-Height, Black Bezel |
| 13 | 370-1856 | 14GB 8 mm Tape Drive, Half-Height, Black Bezel |
| 14 | 240-1372 | M4 0.7 x 10 mm Screw |
| 15 | 340-2148 | Peripheral Mounting Bracket |
| 16 | 240-1141 | #6-32 x 1/4" Screw for 5GB |
| 16 | 240-1530 | M3 0.5 x 6 mm Screw for 10GB and 14GB |
| NS | 370-2344 | 8 mm Cleaning Kit |
| NS | 530-1849 | Address Select Switch Cable (obsolete) |
| NS | 530-1891 | Internal SCSI Bus Cable, 1.8M |
| NS | 530-1892 | DC Wire Harness |
| NS | 530-2058 | 4-Drive Address Select Switch Cable |
| NS | 540-2252 | Front Panel, 56-inch Rack with 4 Tape Drive Cutouts |
| 800-7008 |
5.0 Gbyte 8mm Tape Drive Tray Service Manual |
|
| 800-7340 |
Multi-Tape Backup Tray Service Manual |